Creating a Vacuum
The creation of a vacuum can be simply stated as the removal of gas molecules from a defined volume. This simple statement masks some very complex phenomena associated with molecular flow in the gas phase. An in-depth understanding of the creation of vacuum requires consideration for physical characteristics such as gas viscosity, flow type (degree of turbulence), the thermal conductivity of the gas, and gas diffusion properties.
In practice, industrial vacuums are produced using different kinds of vacuum pumps. Vacuum pumps can be based on a number of different principles:
- Compression-expansion of the gas (piston pumps, rotary pumps, Root's (dry) pumps)
- Drag by viscosity effects (vapor ejector pumps)
- Drag by diffusion effects (vapor diffusion pumps)
- Molecular drag (molecular drag or turbomolecular pumps)
- Ionization effects (ion pumps)
- Physical or chemical sorption (sorption pumps, cryopumps and gettering processes)
In practice, within the semiconductor industry, the reader will primarily encounter mechanical pumps that operate on the compression-expansion principle, molecular drag pumps such as turbopumps, and physical sorption pumps such as cryopumps. We will therefore limit our discussion of pumping options for the creation of vacuum to these methods.
Mechanical Compression-Expansion Vacuum Pumps
Mechanical pumps that operate on the compression-expansion principle are by far the workhorse for vacuum creation within the semiconductor industry. Those wishing a detailed discussion of the construction of such mechanical pumps are referred to the seminal article by Harris and Budgen. Figure1 shows the internal construction of common mechanical vacuum pumps. Rotary vane and rotary piston pumps are known as two-sealed pumps with piston pumps commonly used for larger pumping capacity applications. Rotary vane pumps are oil-sealed units that operate on the principle of rotary displacement of the gas entering the pump. Figure 1(a) shows the basic components of this pump which include an inlet, a stator (housing), an eccentric rotor with vanes that move radially outward under a combination of centrifugal and spring forces, and an outlet. As the rotor rotates, a vane passes the inlet and gas enters the working chamber from the inlet. Continued rotation of the vane increases the volume of the working chamber, drawing in more gas until the eventual passage of the second vane past the inlet seals the gas between the two vanes within the working chamber. Further rotation compresses this captured gas increasing its pressure until it opens the discharge valve against atmospheric pressure. Oil in the outlet chamber prevents backflow of the discharged gas; some oil leaks back into the working chamber lubricating the system and sealing the vanes to the interior surface of the stator. Rotary vane pumps are typically used in applications requiring low or medium vacuum operation and come in single and two-stage pumping configurations; two-stage pumps are capable of achieving lower base pressures.
While they can still be found in many semiconductor applications, oil-sealed rotary vane pumps have largely been supplanted in the industry by "dry" pumps owing to the fact that dry pumps offer less risk of oil contamination in the process (Figure 2). Dry pumps are also compression-expansion pumps; however, they employ different mechanisms to create this action. The most common mechanical arrangements for dry vacuum pumps in use in semiconductor processing include screw-type pumps (e.g., Edwards CSX Series and Oerlikon Leybold's DRYVAC pumps) and multi-stage lobe (Roots) pumps (e.g., Pfeiffer A4 Series). In addition, claw pumps (e.g., Busch Mink Series) are used for some vacuum applications.
All mechanical compression-expansion pumps are limited in the base vacuum pressure that they can achieve, with values of about 0.1-1 millitorr (~0.1-1 x 10-3 mbar) being typical. Note that different pump size/configurations are capable of handling different amounts of gas flow through the pump while maintaining vacuum, but this is a separate property from the base pressure achievable. Figure 3 shows typical pumping characteristics for a rotary vane pump. Pumping curves for screw and claw type pumps, while they may differ in relative pumping speeds and high pressure pumping characteristics for comparable models, show similar pumping curve shapes at pressures below 1 Torr (mbar), the pressure regime of interest for most semiconductor manufacturing processes.
The fact that compression-expansion pump pumping speeds begin to fall off at pressures below 0.1 Torr is significant for semiconductor manufacturing. This characteristic means that prolonged times are needed to achieve base pressure when using only a mechanical rotary vane, screw or claw pump. This problem can be solved by the addition of a Roots blower to the vacuum pump. Figure 4 shows a pumpdown curve for a mechanical compression-expansion pump versus systems using two different size pump/Roots blower combination. It can be seen that much higher pumping speeds are achieved at low pressures when the pump/blower combination is employed. This is the reason that you will almost always see a Roots blower in combination with a compression-expansion pump, with the blower exhaust positioned at the entry to the vacuum pump. The purpose of the blower is two-fold in this application. First, it increases the overall gas handling capacity of the system over and above that of the vacuum pump alone. Secondly, it reduces pump down time in the system by maintaining the gas pressure at the entry to the vacuum pump at values significantly higher than those in the process chamber. Thus with the blower/pump combination when the pressure in the chamber being pumped down is below 10 millitorr for example, and the pumping speed of the vacuum pump at that pressure is 1 or 2% of its value at pressures above one Torr the addition of a blower at the mouth of the vacuum pump raises the effective pressure to values at which the pump retains relatively high pumping speeds.
Turbomolecular Vacuum Pumps
Mechanical compression-expansion pumps are used in almost all systems to achieve base pressures of 10-4 - 10-3 Torr. For processes requiring lower pressures, other approaches to pressure reduction must be employed. Turbomolecular pumps are pumping systems that are effective at pressures below 10-3 Torr which can be employed in certain semiconductor processing/analytical equipment.
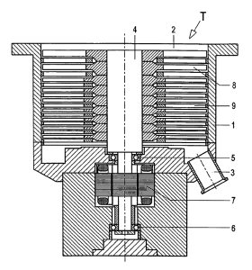
Within a turbomolecular pump (Figure 5), a number of circular discs with angled blades (referred to as rotor discs) rotate at a very high speed (up to 90,000 rpm). Between each moving disc/blade assembly is a mirror-image static disc/blade assembly known as a stator disc. The moving blades impact gas molecules within the pump and physically impart additional momentum (proportional to the blade speed) to the molecules, moving them in the direction of the stator disc. The pump is designed to ensure that the mean free path of molecules in the gas within the pump is greater than the distance between the rotor disc blades and the stator disc blades. This assures that the momentum imparted by the rotor is not lost in molecular collisions, but rather moves the gas molecules through the stator blades. Here they encounter another rotating blade that moves them towards another stator further down the pump and closer to the exhaust. The gas is thus compressed through a number of stages in the turbomolecular pump until it finally exits the turbomolecular pump and is drawn away by the backing mechanical pump. Depending on the model, turbopumps can handle gas loads of up to a few thousand liters/second and are capable of reducing chamber pressures to around 10-10 Torr.
Cryopumps
Cryopumps are vacuum pumps that capture (as opposed to transport) the gas in a process chamber, depositing the condensed gas on internal surfaces in the pump that have been cooled to cryogenic temperatures (below 120K). Cryopumps can be cooled by liquid helium, liquid nitrogen or by a stand-alone cryocooler, depending on the temperature required by a particular pumping application. Like the turbomolecular pump, cryopumps can only operate under low pressure conditions, typically less than 10-3 Torr. The pumping mechanism is the steady depletion of gas molecules within the volume of the pump as they are deposited on the cold surfaces of the cryopump. This promotes continuous diffusion of gas molecules from the chamber being pumped into the cryopump, thus evacuating the chamber. Cryopumps can pump all gases from a process chamber, including noble gases, so long as the temperature is low enough to condense the gas. It provides a perfectly clean approach (i.e., no oil or other contaminants that might backstream into the process chamber) for the generation of high vacuum conditions between 10-3 and 10-9 Torr. Figure 6 shows a cutaway view of a typical cryopump structure. Unlike mechanical vacuum pumps and turbomolecular pumps, cryopumps are not capable of continuous pumpdown of a chamber. Cryopumping is, of necessity, a batch process since the pump must be periodically "regenerated" to remove the build-up of condensed gases. During the regeneration cycle, the cryopump is isolated from the process chamber and its temperature is raised to room temperature or higher to convert all of the condensed material to the gas phase so that it may be pumped away. A mechanical backing pump is required to reduce the system to the cryopump operating pressure and to remove built-up gases during the regeneration cycle.
For additional insights into semiconductor topics like this, download our free MKS Instruments Handbook: Semiconductor Devices & Process Technology
Request a Handbook